Texas Instruments TMP1827 Digitaler Temperatursensor
Der Texas Instruments TMP1827 digitale Temperatursensor ist ein 1-Wire-kompatibler Temperatursensor mit hoher Genauigkeit, digitalem Ausgang und integriertem 2-KB-EEPROM. Darüber hinaus verfügt das Bauteil über ein SHA-256-HMAC Authentifizierungsschema und einen großen Betriebstemperaturbereich von –55°C bis +150°C. Der TMP1827 bietet eine hohe Genauigkeit von ±0,1°C (typisch)/±0,2°C (maximal) über den Temperaturbereich von +10°C bis +45°C. Jedes Bauteil verfügt über eine werkseitig programmierte eindeutige 64-Bit-Identifikationsnummer zur Adressierung und NIST-Rückverfolgbarkeit. Der TMP1827 von Texas Instruments unterstützt Standardgeschwindigkeiten für Legacy-Applikationen und den Overdrive-Modus mit einer Datenrate von 90 kBit/s für eine Kommunikation mit geringer Latenz über einen großen Spannungsbereich von 1,7 V bis 5,5 V.Im einfachsten Betriebsmodus benötigt die TMP1827 1-Wire-Schnittstelle mit einem gemäß IEC-6100-4-2 integrierten ESD-Schutz von 8 kV am Datenpin nur eine einzige Verbindung und eine Erdungsrückführung im Bus-betriebenen Modus. Dies vereinfacht die Applikation und reduziert die Kosten, indem die Anzahl Drähte und externen Schutzkomponenten reduziert wird. Der VDD -Leistungspin ist auch für Applikationen verfügbar, die möglicherweise eine dedizierte Stromversorgung benötigen.
Merkmale
- 1-Wire-Schnittstelle mit gemeinsam genutztem Multidrop-Bus und zyklischer Redundanzprüfung (CRC)
- 1,7 V bis 5,5 V BUS betrieben mit Betriebsspannung
- Kontaktentladung: ±8 kV gemäß IEC 61000-4-2 ESD
- Fähig für die funktionale Sicherheit
- Dokumentation zur Unterstützung des Designs von funktionalen Sicherheitssystemen ist verfügbar
- Digitaler Temperatursensor mit hoher Genauigkeit
- TMP1827
- ±0,2 °C (max.) von +10 °C bis +45 °C
- ±0,3 °C (max.) von -40 °C bis +105 °C
- ±0,4 °C (max.) von -55 °C bis +150 °C
- TMP1827N
- ±0,9 °C (max.) von -55 °C bis +150 °C
- TMP1827
- 94 µA Temperaturmessstrom
- 1,3-µA-Abschaltstrom
- 7.8125m °C (1 LSB) 16-bit-Temperaturauflösung
- Schnelle Datenraten von 90 KBit / s bei Übersteuerung Geschwindigkeit
- Flexible benutzerprogrammierbare kurze Adressmodi für eine schnellere Bauteiladresse
- SHA-256-HMAC-Authentifizierungsschema
- FIPS 180-4-konforme Secure-Hash-Implementierung
- FIPS 198-1-konforme HMAC-Implementierung
- 2 KB EEPROM-Funktionen
- Schreibbetrieb in einer Blockgröße von 64-Bit
- Kontinuierlicher Lesemodus
- Lesen mit Schreibschutz mit einer Seitengröße von 256-Bit
- Authentifizierter Schreibschutzmodus mit einer Seitengröße von 256-Bit
- 178 µA Programmierstrom
- NIST im Werk programmierte, nicht löschbare 64-bit-Identifikation Nummer für Bauteiladressierung
- Vier konfigurierbare Open-Drain-digital Eingangs-/ Ausgangs-und Temperaturalarme
Applikationen
- Fabrikautomatisierung und -steuerung
- Haushaltsgeräte
- Medizinisches Zubehör
- CPAP-Maschinen
- Batterieladegerät-ICs
- EV-Ladeinfrastruktur
- LED-Beleuchtung
- Temperaturtransmitter
- Kühlkette
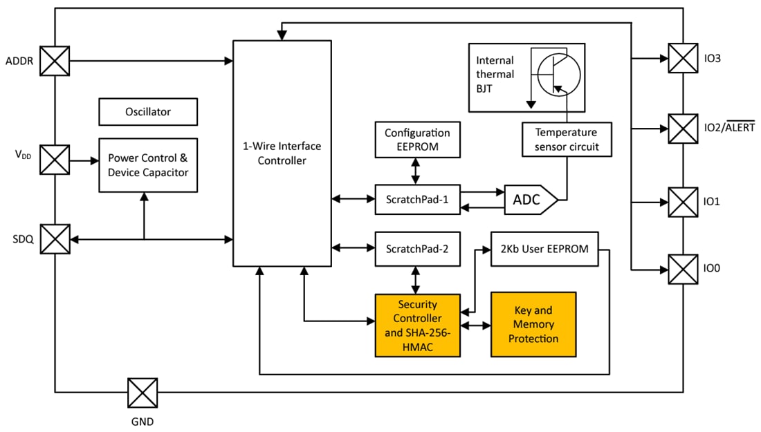
Funktionales Blockdiagramm
Weitere Ressourcen
Veröffentlichungsdatum: 2023-06-21
| Aktualisiert: 2023-10-30
